Toote kirjeldus
Socket Welding Teeon ASME B16.11 järgi toodetud sepistatud haruliitmik, millel on kolm eeltöödeldud-pesaotsa keevisõmbluse kinnitamiseks.Socket Welding Teevõimaldab 90-kraadist voolu jaotamist võrdsetes või vähendavates konfiguratsioonides, mahutades torude suurusi 1/8" kuni 4" rõhuklassidega 3000#, 6000# ja 9000#. Valmistatud süsinikust (A105N, A694, F42-F65), roostevabast (304/304L, 316/316L) või legeerterasest (F11, F22, F91) on see ette nähtud kõrge terviklikkuse süsteemide jaoks nafta-, keemia- ja elektritootmisrakendustes.



Toote parameetrid
|
Üksus |
Tehnilised andmed |
|
Standardne |
ASME B16.11 |
|
Suuruste vahemik |
DN6 ~ DN100 (1/8" ~ 4") |
|
Surve klass |
3000#, 6000#, 9000# |
|
Ühenduse tüüp |
Pistikupesa keevitamine |
|
Materjali valikud |
Süsinikteras (A105N, ct20 jne), roostevaba teras (304/316/321 jne), legeerteras (F11/F22/F91 jne) |
|
Pinnatöötlus |
Roostevastane õli, kuum{0}}tsinkimine |
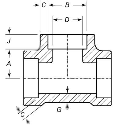
Tehniline skeem
ASME B16.11
Socket Welding Tee

|
Nominaalne läbimõõt |
Ligikaudne kaal(kg) |
|||
|
DN |
NPS |
SCH80/3000 |
SCH160/6000 |
XXS/9000 |
|
6 |
1/8" |
0.13 |
0.22 |
- |
|
8 |
1/4" |
0.13 |
0.22 |
- |
|
10 |
3/8" |
0.16 |
0.45 |
- |
|
15 |
1/2" |
0.35 |
0.55 |
1.15 |
|
20 |
3/4" |
0.4 |
0.9 |
1.8 |
|
25 |
1" |
0.66 |
1.46 |
2.25 |
|
32 |
1-1/4" |
1 |
1.9 |
3.95 |
|
40 |
1-1/2' |
1.4 |
3.4 |
4.87 |
|
50 |
2" |
2.2 |
3.7 |
8.89 |
|
65 |
2-1/2" |
4 |
7.2 |
- |
|
80 |
3" |
6.15 |
10.7 |
- |
|
100 |
4" |
14.3 |
- |
- |
Toote eelised
Lihtne paigaldus
Pistikupesa keevitamine on lihtne: lihtsalt sisestage toru pesasse ja keevitage see ümber.
Usaldusväärne tihendus
Pistikupesa konstruktsioon võimaldab täielikke, ühtlaseid ja suure vuugitugevusega keevisõmblusi, mis vähendab oluliselt lekkeohtu süsteemi eluea jooksul.
Kulutõhusus
Ehkki ühiku hind võib olla pisut kõrgem kui tavalistes tiissides, muudab lühenenud paigaldusaja, vähemate ümbertöötlemisjuhtumite ja pikaajalise-hoolduse-vaba töö tõttu kokkuhoid pistikupesad ökonoomsemaks valikuks kogu projekti elutsükli jooksul.
Peamised rakendused
- Nafta ja gaasi ülekandetorud
- Keemiatehase protsessi torustik
- Elektrijaama katla- ja turbiinisüsteemid
- Laevaehitus ja meretehnika
KKK
Kuum tags: pistikupesa tee, Hiina pistikupesa tee tootjad, tarnijad, tehas
