Toote ülevaade
Din reduktoron põkkkeevitustoru liitmik, mida kasutatakse kahe erineva nimiläbimõõduga toru ühendamiseks. Sellel on kontsentrilised ja ekstsentrilised struktuurid. Toodet saab kasutada pikka aega kõrgel temperatuuril kõrgsurve ja söövitavas keskkonnas.



Spetsifikatsioonid
|
Üksus |
Spetsifikatsioon |
|
Täitmise standard |
DIN2616 |
|
Tüüp/mudel |
Kontsentriline, ekstsentriline |
|
Spetsifikatsioon |
φ21,3-1220 mm |
|
Seina paksuse klass |
(3mm-40mm) DIN jaoks |
|
Ühenduse tüüp |
BW |
|
Pinnatöötlus |
värvida |
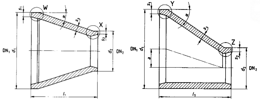
DIN2616
Reduktorite mõõtmed

| Nimisuurus DN1 | Läbimõõt d1 | Seina paksus s1 seeria jaoks | max | Nominaalsuurus DN2 | Läbimõõt d2 | Seina paksus s2 seeria jaoks | l1 | Seina paksus s3 seeria jaoks | ||||||||||||
| 1 | 2 | 3 | 4 | 5 | 1 | 2 | 3 | 4 | 5 | 1 | 2 | 3 | 4 | 5 | ||||||
| 15 | 21,3 | 1,6 | – | 2,0 | 3,2 | 4,0 | 6 | 10 | 17,2 | 1,6 | – | 1,8 | 2,9 | – | 38 | 1,6 | – | 2,0 | 3,2 | – |
| 20 | 26,9 | 1,6 | – | 2,3 | 3,2 | 4,0 | 8 | 15 | 21,3 | 1,6 | – | 2,0 | 3,2 | 4,0 | 38 | 1,6 | – | 2,3 | 3,2 | 4,0 |
| 12 | 10 | 17,2 | 1,6 | – | 1,8 | 2,9 | – | 1,6 | – | 2,3 | 3,2 | – | ||||||||
| 25 | 33,7 | 2,0 | – | 2,6 | 3,2 | 4,0 | 7 | 20 | 26,9 | 1,6 | – | 2,3 | 3,2 | 4,0 | 50 | 2,0 | – | 2,6 | 3,2 | 4,0 |
| 12 | 15 | 21,3 | 1,6 | – | 2,0 | 3,2 | 4,0 | |||||||||||||
| 32 | 42,4 | 2,0 | – | 2,6 | 3,6 | 4,0 | 9 | 25 | 33,7 | 2,0 | – | 2,6 | 3,2 | 4,0 | 50 | 2,0 | – | 2,6 | 3,6 | 4,0 |
| 15 | 20 | 26,9 | 1,6 | – | 2,3 | 3,2 | 4,0 | |||||||||||||
| 19 | 15 | 21,3 | 1,6 | – | 2,0 | 3,2 | 4,0 | |||||||||||||
| 40 | 48,3 | 2,0 | – | 2,6 | 4,0 | 5,0 | 8 | 32 | 42,4 | 2,0 | – | 2,6 | 3,6 | 4,0 | 64 | 2,0 | – | 2,6 | 4,0 | 5,0 |
| 10 | 25 | 33,7 | 2,0 | – | 2,6 | 3,2 | 4,0 | |||||||||||||
| 16 | 20 | 26,9 | 1,6 | – | 2,3 | 3,2 | 4,0 | |||||||||||||
| 50 | 60,3 | 2,0 | – | 2,9 | 4,5 | 5,6 | 7 | 40 | 48,3 | 2,0 | – | 2,6 | 4,0 | 5,0 | 76 | 2,0 | – | 2,9 | 4,5 | 5,6 |
| 11 | 32 | 42,4 | 2,0 | – | 2,6 | 3,6 | 4,0 | |||||||||||||
| 16 | 25 | 33,7 | 2,0 | – | 2,6 | 3,2 | 4,0 | |||||||||||||
| 21 | 20 | 26,9 | 1,6 | – | 2,3 | 3,2 | 4,0 | |||||||||||||
| 65 | 76,1 | 2,3 | – | 2,9 | 5,0 | 7,1 | 9 | 50 | 60,3 | 2,0 | – | 2,9 | 4,5 | 5,6 | 90 | 2,3 | – | 2,9 | 5,0 | 7,1 |
| 15 | 40 | 48,3 | 2,0 | – | 2,6 | 4,0 | 5,0 | |||||||||||||
| 18 | 32 | 42,4 | 2,0 | – | 2,6 | 3,6 | 4,0 | |||||||||||||
| 23 | 25 | 33,7 | 2,0 | – | 2,6 | 3,2 | 4,0 | |||||||||||||
| 80 | 88,9 | 2,3 | – | 3,2 | 5,6 | 8,0 | 7 | 65 | 76,1 | 2,3 | – | 2,9 | 5,0 | 7,1 | 90 | 2,3 | – | 3,2 | 5,6 | 8,0 |
| 16 | 50 | 60,3 | 2,0 | – | 2,9 | 4,5 | 5,6 | |||||||||||||
| 22 | 40 | 48,3 | 2,0 | – | 2,6 | 4,0 | 5,0 | |||||||||||||
| 26 | 32 | 42,4 | 2,0 | – | 2,6 | 3,6 | 4,0 | |||||||||||||
| 100 | 114,3 | 2,6 | – | 3,6 | 6,3 | 8,8 | 13 | 80 | 88,9 | 2,3 | – | 3,2 | 5,6 | 8,0 | 100 | 2,6 | – | 3,6 | 6,3 | 8,8 |
| 18 | 65 | 76,1 | 2,3 | – | 2,9 | 5,0 | 7,1 | |||||||||||||
| 26 | 50 | 80,3 | 2,0 | – | 2,9 | 4,5 | 5,6 | |||||||||||||
| 31 | 40 | 48,3 | 2,0 | – | 2,6 | 4,0 | 5,0 | |||||||||||||
| 125 | 139,7 | 2,6 | – | 4,0 | 6,3 | 10,0 | 10 | 100 | 114,3 | 2,6 | – | 3,6 | 6,3 | 8,8 | 127 | 2,6 | – | 4,0 | 6,3 | 10,0 |
| 20 | 80 | 88,9 | 2,3 | – | 3,2 | 5,6 | 8,0 | |||||||||||||
| 25 | 65 | 76,1 | 2,3 | – | 2,9 | 5,0 | 7,1 | |||||||||||||
| 30 | 50 | 60,3 | 2,0 | – | 2,9 | 4,5 | 5,6 | |||||||||||||
| 150 | 168,3 | 2,6 | 4,0 | 4,5 | 7,1 | 11,0 | 9 | 125 | 139,7 | 2,6 | 4,0 | 4,0 | 6,3 | 10,0 | 140 | 2,6 | 4,0 | 4,5 | 7,1 | 11,0 |
| 19 | 100 | 114,3 | 2,6 | 3,6 | 3,6 | 6,3 | 8,8 | |||||||||||||
| 27 | 80 | 88,9 | 2,3 | 3,2 | 3,2 | 5,6 | 8,0 | |||||||||||||
| 31 | 65 | 76,1 | 2,3 | 2,9 | 2,9 | 5,0 | 7,1 | |||||||||||||
| 200 | 219,1 | 2,9 | 4,5 | 6,3 | 8,0 | 12,5 | 18 | 150 | 168,3 | 2,6 | 4,0 | 4,5 | 7,1 | 11,0 | 152 | 2,9 | 4,5 | 6,3 | 8,0 | 12,5 |
| 27 | 125 | 139,7 | 2,6 | 4,0 | 4,0 | 6,3 | 10,0 | |||||||||||||
| 33 | 100 | 114,3 | 2,6 | 3,6 | 3,6 | 6,3 | 8,8 | |||||||||||||
| 39 | 80 | 88,9 | 2,3 | 3,2 | 3,2 | 5,6 | 8,0 | |||||||||||||
| 250 | 273,0 | 2,9 | 5,0 | 6,3 | 8,8 | 14,2 | 16 | 200 | 219,1 | 2,9 | 4,5 | 6,3 | 8,0 | 12,5 | 178 | 2,9 | 5,0 | 6,3 | 8,8 | 14,2 |
| 30 | 150 | 168,3 | 2,6 | 4,0 | 4,5 | 7,1 | 11,0 | |||||||||||||
| 36 | 125 | 139,7 | 2,6 | 4,0 | 4,0 | 6,3 | 10,0 | 3,0 | 5,0 | 6,3 | 8,8 | 14,2 | ||||||||
| 40 | 100 | 114,3 | 2,6 | 3,6 | 3,6 | 6,3 | 8,8 | 3,1 | 5,0 | 6,3 | 8,8 | 14,2 | ||||||||
| 300 | 323,9 | 2,9 | 5,6 | 7,1 | 10,0 | 16,0 | 12 | 250 | 273,0 | 2,9 | 5,0 | 6,3 | 8,8 | 14,2 | 203 | 2,9 | 5,6 | 7,1 | 10,0 | 16,0 |
| 24 | 200 | 219,1 | 2,9 | 4,5 | 6,3 | 8,0 | 12,5 | |||||||||||||
| 35 | 150 | 168,3 | 2,6 | 4,0 | 4,5 | 7,1 | 11,0 | 3,0 | 5,6 | 7,1 | 10,0 | 16,0 | ||||||||
| 40 | 125 | 139,7 | 2,6 | 4,0 | 4,0 | 6,3 | 10,0 | 3,1 | 5,6 | 7,1 | 10,0 | 16,0 | ||||||||
| 350 | 355,6 | 3,2 | 5,6 | 8,0 | 11,0 | 17,5 | 6 | 300 | 323,9 | 2,9 | 5,6 | 7,1 | 10,0 | 16,0 | 330 | 3,2 | 5,6 | 8,0 | 11,0 | 17,5 |
| 14 | 250 | 273,0 | 2,9 | 5,0 | 6,3 | 8,8 | 14,2 | |||||||||||||
| 22 | 200 | 219,1 | 2,9 | 4,5 | 6,3 | 8,0 | 12,5 | |||||||||||||
| 29 | 150 | 168,3 | 2,6 | 4,0 | 4,5 | 7,1 | 11,0 | |||||||||||||
| 400 | 406,4 | 3,2 | 6,3 | 8,8 | 12,5 | 20,0 | 8 | 350 | 355,6 | 3,2 | 5,6 | 8,0 | 11,0 | 17,5 | 355 | 3,2 | 6,3 | 8,8 | 12,5 | 20,0 |
| 13 | 300 | 323,9 | 2,9 | 5,6 | 7,1 | 10,0 | 16,0 | |||||||||||||
| 21 | 250 | 273,0 | 2,9 | 5,0 | 6,3 | 8,8 | 14,2 | |||||||||||||
| 28 | 200 | 219,1 | 2,9 | 4,5 | 6,3 | 8,0 | 12,5 | |||||||||||||
| 34 | 150 | 168,3 | 2,6 | 4,0 | 4,5 | 7,1 | 11,0 | |||||||||||||
| 450 | 457,0 | 4,0 | 6,3 | 10,0 | 14,2 | 22,2 | 7 | 400 | 406,4 | 3,2 | 6,3 | 8,8 | 12,5 | 20,0 | 381 | 4,0 | 6,3 | 10,0 | 14,2 | 22,2 |
| 14 | 350 | 355,6 | 3,2 | 5,6 | 8,0 | 11,0 | 17,5 | |||||||||||||
| 18 | 300 | 323,9 | 2,9 | 5,6 | 7,1 | 10,0 | 16,0 | |||||||||||||
| 25 | 250 | 273,0 | 2,9 | 5,0 | 6,3 | 8,8 | 14,2 | |||||||||||||
| 31 | 200 | 219,1 | 2,9 | 4,5 | 6,3 | 8,0 | 12,5 | |||||||||||||
| 500 | 508,0 | 4,0 | 6,3 | 11,0 | 16,0 | 25,0 | 4 | 450 | 457,0 | 4,0 | 6,3 | 10,0 | 14,2 | 22,2 | 508 | 4,0 | 6,3 | 11,0 | 16,0 | 25,0 |
| 10 | 400 | 406,4 | 3,2 | 6,3 | 8,8 | 12,5 | 20,0 | |||||||||||||
| 17 | 350 | 355,6 | 3,2 | 5,6 | 8,0 | 11,0 | 17,5 | |||||||||||||
| 20 | 300 | 323,9 | 2,9 | 5,6 | 7,1 | 10,0 | 16,0 | |||||||||||||
| 24 | 250 | 273,0 | 2,9 | 5,0 | 6,3 | 8,8 | 14,2 | |||||||||||||
| 29 | 200 | 219,1 | 2,9 | 4,5 | 6,3 | 8,0 | 12,5 | |||||||||||||
| 600 | 610,0 | 5,0 | 6,3 | 12,5 | 17,5 | 30,0 | 10 | 500 | 508,0 | 4,0 | 6,3 | 11,0 | 16,0 | 25,0 | 508 | 5,0 | 6,3 | 12,5 | 17,5 | 30 |
| 15 | 450 | 457,0 | 4,0 | 6,3 | 10,0 | 14,2 | 22,2 | |||||||||||||
| 21 | 400 | 406,4 | 3,2 | 6,3 | 8,8 | 12,5 | 20,0 | |||||||||||||
| 26 | 350 | 355,6 | 3,2 | 5,6 | 8,0 | 11,0 | 17,5 | |||||||||||||
| 29 | 300 | 323,9 | 2,9 | 5,6 | 7,1 | 10,0 | 16,0 | |||||||||||||
| 33 | 250 | 273,0 | 2,9 | 5,0 | 6,3 | 8,8 | 14,2 | 5,1 | 6,3 | 12,5 | 17,5 | 30 | ||||||||
| 700 | 711,0 | 5,0 | 7,1 | 12,5 | 20,0 | 32,0 | 10 | 600 | 610,0 | 5,0 | 6,3 | 12,5 | 17,5 | 30,0 | 610 | 5,0 | 7,1 | 12,5 | 20,0 | 32 |
| 15 | 500 | 508,0 | 4,0 | 6,3 | 11,0 | 16,0 | 25,0 | |||||||||||||
| 20 | 450 | 457,0 | 4,0 | 6,3 | 10,0 | 14,2 | 22,2 | |||||||||||||
| 25 | 400 | 406,4 | 3,2 | 6,3 | 8,8 | 12,5 | 20,0 | |||||||||||||
| 30 | 350 | 355,6 | 3,2 | 5,6 | 8,0 | 11,0 | 17,5 | |||||||||||||
| 33 | 300 | 323,9 | 2,9 | 5,6 | 7,1 | 10,0 | 16,0 | |||||||||||||
| 800 | 813,0 | 5,6 | 8,0 | 12,5 | 22,2 | 36,0 | 10 | 700 | 711,0 | 5,0 | 7,1 | 12,5 | 20,0 | 32,0 | 610 | 5,6 | 8,0 | 12,5 | 22,2 | 36 |
| 15 | 600 | 610,0 | 5,0 | 6,3 | 12,5 | 17,5 | 30,0 | |||||||||||||
| 20 | 500 | 508,0 | 4,0 | 6,3 | 11,0 | 16,0 | 25,0 | |||||||||||||
| 25 | 450 | 457,0 | 4,0 | 6,3 | 10,0 | 14,2 | 22,2 | |||||||||||||
| 30 | 400 | 406,4 | 3,2 | 6,3 | 8,8 | 12,5 | 20,0 | |||||||||||||
| 35 | 350 | 355,6 | 3,2 | 5,6 | 8,0 | 11,0 | 17,5 | 5,8 | 8,0 | 12,5 | 22,2 | 36 | ||||||||
| 900 | 914,0 | 6,3 | 10,0 | 12,5 | 25,0 | 40,0 | 10 | 800 | 813,0 | 5,6 | 8,0 | 12,5 | 22,2 | 36,0 | 610 | 6,3 | 10,0 | 12,5 | 25,0 | 40 |
| 15 | 700 | 711,0 | 5,0 | 7,1 | 12,5 | 20,0 | 32,0 | |||||||||||||
| 20 | 600 | 610,0 | 5,0 | 6,3 | 12,5 | 17,5 | 30,0 | |||||||||||||
| 25 | 500 | 508,0 | 4,0 | 6,3 | 11,0 | 16,0 | 25,0 | |||||||||||||
| 30 | 450 | 457,0 | 4,0 | 6,3 | 10,0 | 14,2 | 22,2 | 6,4 | 10,0 | 12,5 | 25,0 | 40 | ||||||||
| 35 | 400 | 406,4 | 3,2 | 6,3 | 8,8 | 12,5 | 20,0 | 6,5 | 10,0 | 12,5 | 25,0 | 40 | ||||||||
| 1000 | 1016,0 | 6,3 | 10,0 | 12,5 | 28,0 | 45,0 | 10 | 900 | 914,0 | 6,3 | 10,0 | 12,5 | 25,0 | 40,0 | 810 | 6,3 | 10,0 | 12,5 | 28,0 | 45 |
| 15 | 800 | 813,0 | 5,6 | 8,0 | 12,5 | 22,2 | 36,0 | |||||||||||||
| 20 | 700 | 711,0 | 5,0 | 7,1 | 12,5 | 20,0 | 32,0 | |||||||||||||
| 25 | 600 | 610,0 | 5,0 | 6,3 | 12,5 | 17,5 | 30,0 | |||||||||||||
| 30 | 500 | 508,0 | 4,0 | 6,3 | 11,0 | 16,0 | 25,0 | |||||||||||||
| 35 | 450 | 457,0 | 4,0 | 6,3 | 10,0 | 14,2 | 22,2 | 6,4 | 10,2 | 12,5 | 28,0 | 45 | ||||||||
| 1200 | 1220,0 | 6,3 | 12,5 | − | − | − | 10 | 1000 | 1018,0 | 6,3 | 10,0 | − | − | − | 711 | 6,3 | 1,25 | − | − | − |
| 15 | 900 | 914,0 | 6,3 | 10,0 | − | − | − | |||||||||||||
| 20 | 800 | 813,0 | 5,6 | 8,0 | − | − | − | |||||||||||||
| 25 | 700 | 711,0 | 5,0 | 7,1 | − | − | − | 6,4 | 12,5 | |||||||||||
| 30 | 600 | 610,0 | 5,0 | 6,3 | − | − | − | 6,6 | 12,5 | |||||||||||
Rakendused
Naftakeemiatööstus
Din reduktorkasutatakse erineva läbimõõduga protsessitorude (nt reaktori sisse- ja väljalaskeavad, soojusvaheti torustik jne) ühendamiseks ning see võib kohanduda söövitava keskkonna ja kõrgrõhu töötingimustega{1}}.
Elektrienergia tööstus
Din reduktortoimib redutseeriva ühendusena kateldes, auruturbiinides ja aurutorusüsteemides. Selle legeerterasest materjal talub kõrget temperatuuri ja kõrget rõhku.
Üldmasinad
Seda kasutatakse torustikes sellistes seadmetes nagu kompressorid, mahutid ja ventiilid, et realiseerida erinevate liideste suuruste üleminek.
KKK
Kuum tags: dini reduktor, Hiina dini reduktorite tootjad, tarnijad, tehas
